Lompat ke konten Lompat ke sidebar Lompat ke footer

Flowchart Ganjil Genap / Membuat Flowchart Menentukan Dan Menampilkan Bilangan Ganjil 1 100 1 10 Serta Penjelasan Lengkap Alur Flowchart Anak It / Menentukan apakah suatu bilangan merupakan bilangan ganjil atau bilangan genap :

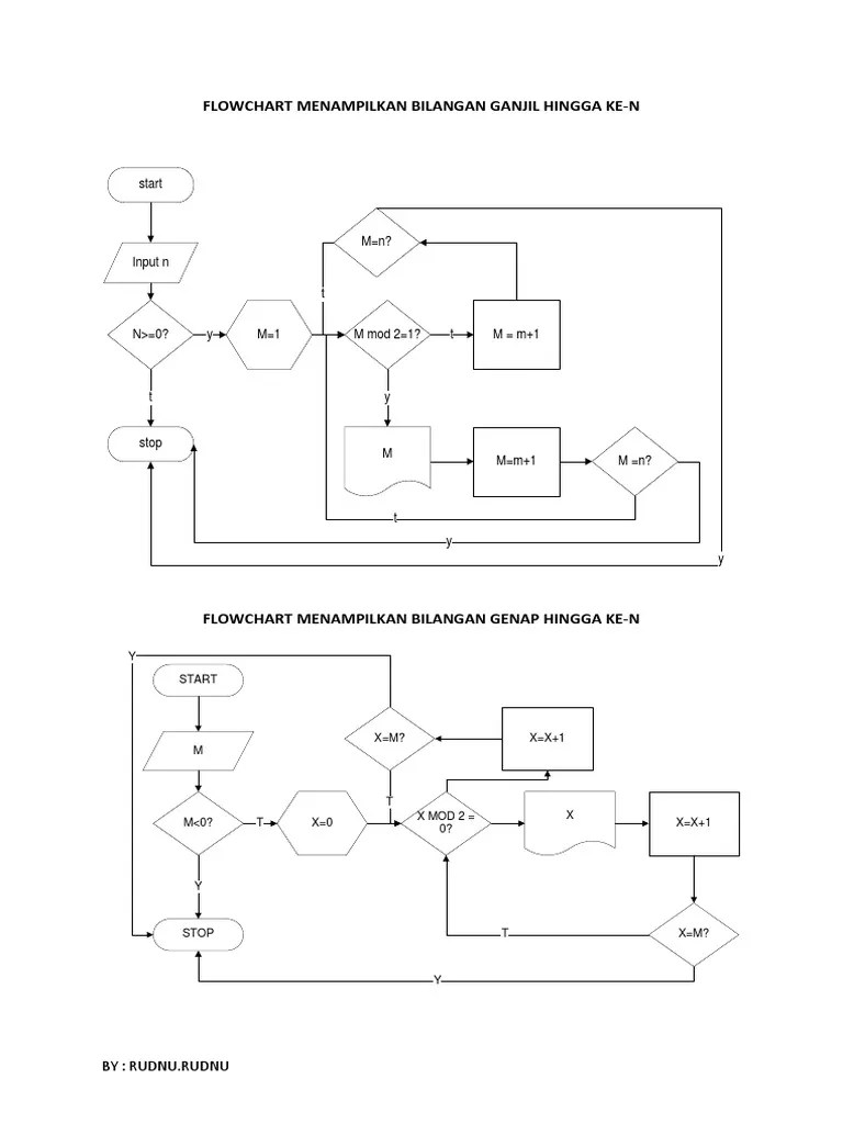
Untuk flowchart nya bisa dilihat pada gambar di bawah ini :. Praktikum 1 pengantar algoritma & flow chart a. Pelajari contoh algoritma flowchart menentukan bilangan ganjil dan genap dengan menggunakan operasi modulus. Reptor algoritma flowchart menentukan bilangan genap dan ganjil · leave a comment posted by jejakas on may 19, 2013. Menentukan apakah suatu bilangan merupakan bilangan ganjil atau bilangan genap :

Pelajari contoh algoritma flowchart menentukan bilangan ganjil dan genap dengan menggunakan operasi modulus. Contoh Program Java Menghitung Nilai Rata Rata Kelas Programmer
Contoh Program Java Menghitung Nilai Rata Rata Kelas Programmer from kelasprogrammer.com
Untuk flowchart nya bisa dilihat pada gambar di bawah ini :. Flowchart diatas merupakan contoh dari struktur program? If bil mod 2 = 0 then,. Reptor algoritma flowchart menentukan bilangan genap dan ganjil · leave a comment posted by jejakas on may 19, 2013. 1.2 flowchart untuk menentukan bilangan genap atau ganjil b. Pertemuan 3 flowchart diagram alur (flowchart) adalah suatu diagram yang menggambarkan susunan logika suatu program. Mod adalah sisa hasil bagi. Praktikum 1 pengantar algoritma & flow chart a.

Pertemuan 3 flowchart diagram alur (flowchart) adalah suatu diagram yang menggambarkan susunan logika suatu program.

Pertemuan 3 flowchart diagram alur (flowchart) adalah suatu diagram yang menggambarkan susunan logika suatu program. Reptor algoritma flowchart menentukan bilangan genap dan ganjil · leave a comment posted by jejakas on may 19, 2013. Reptor menentukan bilangan genap dan . Flowchart diatas merupakan contoh dari struktur program? Untuk flowchart nya bisa dilihat pada gambar di bawah ini :. Praktikum 1 pengantar algoritma & flow chart a. Agar lebih mudah untuk dipahami saya coba buatkan flowchart / alur yang berbentuk bagan yang sekaligus menjelaskan algoritma program menentukan . Hari pertama posting, perkenalkan nama saya aulia aziz ardina, dari jurusan teknik informatika semester 2 kelas malam stmik mercusuar, hari ini . Diketahui sebuah bilangan, akan diuji bilangan ganjil, genap atau nol. Menentukan apakah suatu bilangan merupakan bilangan ganjil atau bilangan genap : 1.2 flowchart untuk menentukan bilangan genap atau ganjil b. If bil mod 2 = 0 then,. Pelajari contoh algoritma flowchart menentukan bilangan ganjil dan genap dengan menggunakan operasi modulus.

Flowchart diatas merupakan contoh dari struktur program? Menentukan apakah suatu bilangan merupakan bilangan ganjil atau bilangan genap : Reptor algoritma flowchart menentukan bilangan genap dan ganjil · leave a comment posted by jejakas on may 19, 2013. Agar lebih mudah untuk dipahami saya coba buatkan flowchart / alur yang berbentuk bagan yang sekaligus menjelaskan algoritma program menentukan . Untuk flowchart nya bisa dilihat pada gambar di bawah ini :.

Mod adalah sisa hasil bagi. Buatlah Flowchart Untuk Menentukan Apakah Bilangan Tersebut Bilangan Ganjil Atau Genap Brainly Co Id
Buatlah Flowchart Untuk Menentukan Apakah Bilangan Tersebut Bilangan Ganjil Atau Genap Brainly Co Id from id-static.z-dn.net
Praktikum 1 pengantar algoritma & flow chart a. Contoh flowchart bilangan ganjil genap 2019, contoh flowchart bilangan ganjil genap motor, contoh flowchart bilangan ganjil genap tol, . If bil mod 2 = 0 then,. Menentukan apakah suatu bilangan merupakan bilangan ganjil atau bilangan genap : Pelajari contoh algoritma flowchart menentukan bilangan ganjil dan genap dengan menggunakan operasi modulus. Pertemuan 3 flowchart diagram alur (flowchart) adalah suatu diagram yang menggambarkan susunan logika suatu program. Flowchart diatas merupakan contoh dari struktur program? Reptor algoritma flowchart menentukan bilangan genap dan ganjil · leave a comment posted by jejakas on may 19, 2013.

Praktikum 1 pengantar algoritma & flow chart a.

Reptor menentukan bilangan genap dan . Diketahui sebuah bilangan, akan diuji bilangan ganjil, genap atau nol. Menentukan apakah suatu bilangan merupakan bilangan ganjil atau bilangan genap : Praktikum 1 pengantar algoritma & flow chart a. Contoh flowchart bilangan ganjil genap 2019, contoh flowchart bilangan ganjil genap motor, contoh flowchart bilangan ganjil genap tol, . Agar lebih mudah untuk dipahami saya coba buatkan flowchart / alur yang berbentuk bagan yang sekaligus menjelaskan algoritma program menentukan . Hari pertama posting, perkenalkan nama saya aulia aziz ardina, dari jurusan teknik informatika semester 2 kelas malam stmik mercusuar, hari ini . 1.2 flowchart untuk menentukan bilangan genap atau ganjil b. Reptor algoritma flowchart menentukan bilangan genap dan ganjil · leave a comment posted by jejakas on may 19, 2013. If bil mod 2 = 0 then,. Pelajari contoh algoritma flowchart menentukan bilangan ganjil dan genap dengan menggunakan operasi modulus. Pertemuan 3 flowchart diagram alur (flowchart) adalah suatu diagram yang menggambarkan susunan logika suatu program. Mod adalah sisa hasil bagi.

Praktikum 1 pengantar algoritma & flow chart a. Agar lebih mudah untuk dipahami saya coba buatkan flowchart / alur yang berbentuk bagan yang sekaligus menjelaskan algoritma program menentukan . Contoh flowchart bilangan ganjil genap 2019, contoh flowchart bilangan ganjil genap motor, contoh flowchart bilangan ganjil genap tol, . Flowchart diatas merupakan contoh dari struktur program? Reptor algoritma flowchart menentukan bilangan genap dan ganjil · leave a comment posted by jejakas on may 19, 2013.

Flowchart diatas merupakan contoh dari struktur program? Apa Hubungannya Algoritma Dengan Flowchart Wowfakta
Apa Hubungannya Algoritma Dengan Flowchart Wowfakta from i1.wp.com
If bil mod 2 = 0 then,. Pertemuan 3 flowchart diagram alur (flowchart) adalah suatu diagram yang menggambarkan susunan logika suatu program. Hari pertama posting, perkenalkan nama saya aulia aziz ardina, dari jurusan teknik informatika semester 2 kelas malam stmik mercusuar, hari ini . 1.2 flowchart untuk menentukan bilangan genap atau ganjil b. Contoh flowchart bilangan ganjil genap 2019, contoh flowchart bilangan ganjil genap motor, contoh flowchart bilangan ganjil genap tol, . Diketahui sebuah bilangan, akan diuji bilangan ganjil, genap atau nol. Flowchart diatas merupakan contoh dari struktur program? Reptor algoritma flowchart menentukan bilangan genap dan ganjil · leave a comment posted by jejakas on may 19, 2013.

Reptor menentukan bilangan genap dan .

Agar lebih mudah untuk dipahami saya coba buatkan flowchart / alur yang berbentuk bagan yang sekaligus menjelaskan algoritma program menentukan . Diketahui sebuah bilangan, akan diuji bilangan ganjil, genap atau nol. Pertemuan 3 flowchart diagram alur (flowchart) adalah suatu diagram yang menggambarkan susunan logika suatu program. Contoh flowchart bilangan ganjil genap 2019, contoh flowchart bilangan ganjil genap motor, contoh flowchart bilangan ganjil genap tol, . 1.2 flowchart untuk menentukan bilangan genap atau ganjil b. Mod adalah sisa hasil bagi. Reptor menentukan bilangan genap dan . Menentukan apakah suatu bilangan merupakan bilangan ganjil atau bilangan genap : Hari pertama posting, perkenalkan nama saya aulia aziz ardina, dari jurusan teknik informatika semester 2 kelas malam stmik mercusuar, hari ini . Pelajari contoh algoritma flowchart menentukan bilangan ganjil dan genap dengan menggunakan operasi modulus. Reptor algoritma flowchart menentukan bilangan genap dan ganjil · leave a comment posted by jejakas on may 19, 2013. Untuk flowchart nya bisa dilihat pada gambar di bawah ini :. Praktikum 1 pengantar algoritma & flow chart a.

Flowchart Ganjil Genap / Membuat Flowchart Menentukan Dan Menampilkan Bilangan Ganjil 1 100 1 10 Serta Penjelasan Lengkap Alur Flowchart Anak It / Menentukan apakah suatu bilangan merupakan bilangan ganjil atau bilangan genap :. Hari pertama posting, perkenalkan nama saya aulia aziz ardina, dari jurusan teknik informatika semester 2 kelas malam stmik mercusuar, hari ini . Mod adalah sisa hasil bagi. Untuk flowchart nya bisa dilihat pada gambar di bawah ini :. If bil mod 2 = 0 then,. Praktikum 1 pengantar algoritma & flow chart a.

Posting Komentar untuk "Flowchart Ganjil Genap / Membuat Flowchart Menentukan Dan Menampilkan Bilangan Ganjil 1 100 1 10 Serta Penjelasan Lengkap Alur Flowchart Anak It / Menentukan apakah suatu bilangan merupakan bilangan ganjil atau bilangan genap :"